24. 设计类似 S3 的对象存储
24. 设计类似 S3 的对象存储
在本章中,我们将设计一个类似于亚马逊 S3 的对象存储服务。
存储系统大致分为三类:
- 块存储
- 文件存储
- 对象存储
块存储是一种在 1960 年代出现的设备。硬盘(HDD)和固态硬盘(SSD)就是这种存储设备的例子。
这些设备通常是物理连接到服务器上的,尽管也可以通过高速网络协议将它们连接到网络上。
服务器可以格式化原始块并将其用作文件系统,或者直接将其交给服务器进行控制。
文件存储是建立在块存储之上的。它提供了更高层次的抽象,使得管理文件夹和文件变得更加容易。
对象存储为了高耐用性、大规模和低成本牺牲了性能。
它主要面向“冷”数据,广泛用于归档和备份。
没有层级目录结构,所有数据都以对象的形式存储在平面结构中。
与其他存储类型相比,它的速度较慢。大多数云服务提供商都有对象存储服务——如亚马逊 S3、谷歌 GCS 等。

| 块存储 | 文件存储 | 对象存储 | |
|---|---|---|---|
| 可变内容 | 是 | 是 | 否(有对象版本控制) |
| 成本 | 高 | 中到高 | 低 |
| 性能 | 中到高,非常高 | 中到高 | 低到中 |
| 一致性 | 强一致性 | 强一致性 | 强一致性 [5] |
| 数据访问 | SAS/iSCSI/FC | 标准文件访问,CIFS/SMB,NFS | RESTful API |
| 可扩展性 | 中等可扩展性 | 高可扩展性 | 巨大可扩展性 |
| 适用场景 | 虚拟机(VM),数据库 | 通用文件系统访问 | 二进制数据,非结构化数据 |
一些与对象存储相关的术语:
- 桶(Bucket) - 存储对象的逻辑容器,名称是全球唯一的。
- 对象(Object) - 存储在桶中的单个数据单元,包含对象数据和元数据。
- 版本控制(Versioning) - 一种特性,可以在同一桶中保留对象的多个变体。
- 统一资源标识符(URI) - 每个资源通过 URI 唯一标识。
- 服务级别协议(SLA) - 服务提供商与客户之间的合同。
亚马逊 S3 标准 - 不常访问存储类(SLA):
- 在多个可用区之间的耐用性为 99.999999999%
- 在整个可用区被销毁时,数据是有弹性的
- 设计目标为 99.9% 的可用性
第一步:理解问题并确定设计范围
- 候选人: 应该包含哪些功能?
- 面试官: 桶创建、对象上传/下载、版本控制、列出桶中的对象
- 候选人: 典型的数据大小是多少?
- 面试官: 我们需要高效地存储大量对象和小对象
- 候选人: 一年存储多少数据?
- 面试官: 100 PB
- 候选人: 我们能否假设 6 个 9 的数据耐用性(99.9999%)和 4 个 9 的服务可用性(99.99%)?
- 面试官: 是的,这听起来合理。
非功能性需求
- 100 PB 的数据
- 6 个 9 的数据耐用性
- 4 个 9 的服务可用性
- 存储效率:在保持高可靠性和性能的同时降低存储成本
粗略估算
对象存储可能在磁盘容量或每秒 I/O(IOPS)上有瓶颈。
假设:
- 20% 是小对象(小于 1MB),60% 是中型对象(1-64MB),20% 是大对象(大于 64MB)
- 一块硬盘(SATA,7200rpm)能够每秒执行 100-150 次随机寻址(100-150 IOPS)
根据这些假设,我们可以估算系统能够持久化的对象总数。
- 为了简化计算,我们使用每种对象类型的中位数大小:小对象 0.5MB,中型对象 32MB,大对象 200MB。
- 假设有 100PB 存储(10^11 MB),且 40% 的存储被使用,结果是 6.8 亿个对象。
- 如果假设元数据为 1KB,那么我们需要 0.68TB 的空间来存储元数据信息。
第二步:提出高层设计并获得认可
在深入设计之前,我们先来探讨对象存储的一些有趣特性:
- 对象不可变性 - 对象存储中的对象是不可变的(在其他存储系统中不是这样)。我们可以删除它们或替换它们,但不能更新它们。
- 键值存储 - 对象的 URI 是它的键,我们可以通过发出 HTTP 请求来获取其内容。
- 写一次,读多次 - 数据访问模式是一次写入,多次读取。根据 LinkedIn 的研究,95% 的操作是读取。
- 支持小对象和大对象。
对象存储的设计理念类似于 UNIX - 当我们保存一个文件时,它会在一个叫做 inode 的数据结构中创建文件名,并将文件数据存储在不同的磁盘位置。
inode 中包含一个文件块指针列表,这些指针指向磁盘上的不同位置。
在访问文件时,我们首先从 inode 中获取它的元数据,然后再获取文件内容。
对象存储的工作方式类似 - 元数据存储用于存储文件信息,但内容存储在磁盘上:

通过将元数据与文件内容分离,我们可以独立地扩展不同的存储:

高层设计

- 负载均衡器 - 将 API 请求分发到服务副本
- API 服务 - 无状态服务器,协调对元数据存储和对象存储的调用,以及身份和访问管理(IAM)服务的调用
- 身份和访问管理(IAM) - 集中的身份验证、授权和访问控制服务
- 数据存储 - 存储和检索实际数据,操作基于对象 ID(UUID)
- 元数据存储 - 存储对象元数据
上传对象

- 通过 HTTP PUT 请求创建一个名为“bucket-to-share”的桶
- API 服务调用 IAM 确保用户已授权并具有写权限
- API 服务调用元数据存储创建桶条目。创建成功后,返回成功响应。
- 桶创建后,发送 HTTP PUT 请求创建名为“script.txt”的对象
- API 服务验证用户身份并确保用户具有写权限
- 一旦验证通过,对象有效负载通过 HTTP PUT 发送到数据存储。数据存储持久化数据并返回一个 UUID。
- API 服务调用元数据存储创建一个新条目,包含 object_id、bucket_id 和 bucket_name 等其他元数据。
示例对象上传请求:
PUT /bucket-to-share/script.txt HTTP/1.1
Host: foo.s3example.org
Date: Sun, 12 Sept 2021 17:51:00 GMT
Authorization: authorization string
Content-Type: text/plain
Content-Length: 4567
x-amz-meta-author: Alex
[4567 字节的对象数据]
下载对象
桶没有目录层级结构,但我们可以通过连接桶名和对象名来创建一个逻辑层级结构,模拟文件夹结构。
获取对象的示例 GET 请求:
GET /bucket-to-share/script.txt HTTP/1.1
Host: foo.s3example.org
Date: Sun, 12 Sept 2021 18:30:01 GMT
Authorization: authorization string

- 客户端向负载均衡器发送 HTTP GET 请求,即
GET /bucket-to-share/script.txt - API 服务查询 IAM 以验证用户是否具有正确的权限来读取桶
- 验证通过后,从元数据存储中检索对象的 UUID
- 根据 UUID 从数据存储中检索对象有效负载,并返回给客户端
// Sprint 1
第三步:深入设计
数据存储
下面是 API 服务如何与数据存储交互的示意图:

数据存储的主要组件:

数据路由服务提供 RESTful 或 gRPC API 用于访问数据节点集群。
它是一个无状态服务,通过添加更多服务器来扩展。
它的主要职责是:
- 查询放置服务以获取最佳数据节点来存储数据
- 从数据节点读取数据并将其返回给 API 服务
- 将数据写入数据节点
放置服务决定哪些数据节点应存储对象。
它维护一个虚拟集群映射,确定集群的物理拓扑。

该服务还会向所有数据节点发送心跳,以确定它们是否应从虚拟集群中移除。
由于这是一个关键服务,建议维护一个由 5 或 7 个副本组成的集群,通过 Paxos 或 Raft 共识算法进行同步。
例如,7 节点集群可以容忍 3 个节点故障。
数据节点存储实际的对象数据。
通过将数据复制到多个数据节点来确保可靠性和耐用性。
每个数据节点上运行一个守护进程,该进程向放置服务发送心跳。
心跳包括:
- 数据节点管理多少块磁盘(HDD 或 SSD)?
- 每块磁盘上存储了多少数据?
数据持久化流程

- API 服务将对象数据转发到数据存储
- 数据路由服务将数据发送到主数据节点
- 主数据节点将数据保存在本地,并将其复制到两个辅助数据节点。复制成功后,返回响应。
- 对象的 UUID 被返回给 API 服务。
注意事项:
- 给定对象 UUID,通过一致性哈希算法确定它的复制组。
- 在步骤 4 中,主数据节点在返回响应之前会复制对象数据。这种做法偏向于强一致性而不是较高的延迟。

数据组织方式
一种简单的管理数据的方法是将每个对象存储在单独的文件中。
这种方式是可行的,但在文件系统中有许多小文件时,性能不好:
- HDD 上的数据块会浪费,因为每个文件都会使用整个块大小。典型的块大小为 4KB。
- 许多文件意味着许多 inode。操作系统不擅长处理过多的 inode,并且还有最大 inode 数量限制。
这些问题可以通过将许多小文件合并成更大的文件来解决,方法是使用预写日志(WAL)。一旦文件达到其容量(通常是几个 GB),就会创建一个新文件:

这种方法的缺点是对文件的写访问需要被序列化。多个核心访问同一个文件时必须等待彼此。
为了解决这个问题,我们可以将文件限制在特定的核心上,以避免锁竞争。
对象查找
为了支持在同一个文件中存储多个对象,我们需要维护一个表格,用来告知数据节点:
object_idfilename- 对象存储的位置file_offset- 对象开始的位置object_size- 对象的大小
我们可以将这个表格部署在基于文件的数据库(如 RocksDB)或传统的关系型数据库中。由于访问模式是低写高读,关系型数据库更加适合。
我们该如何部署它呢?
我们可以将数据库部署在集群中并单独进行扩展,所有数据节点可以访问它。
缺点:
- 我们需要积极地扩展集群以服务所有请求
- 数据节点与数据库集群之间存在额外的网络延迟
另一种选择是利用数据节点只对与其相关的数据感兴趣这一点,因此我们可以将关系型数据库部署在数据节点内部。
SQLite 是一个很好的选择,因为它是一个轻量级的基于文件的关系型数据库。
更新的数据持久化流程

- API 服务发送请求保存新对象
- 数据节点服务将新对象附加到文件末尾,文件名为“/data/c”
- 对象的新记录插入到对象映射表中
持久性
数据持久性是我们设计中的一个重要要求。为了实现 6 个 nines 的耐用性,我们需要适当处理每一种故障情况。
首先要解决的问题是硬件故障。我们可以通过复制数据节点来最小化故障的概率。
但除了这一点,我们还应该跨不同的故障域进行复制(跨机架、跨数据中心、独立网络等)。
一个关键事件可能会导致同一故障域内的多个硬件故障:

假设典型 HDD 的年故障率为 0.81%,通过创建三个副本,我们可以达到 6 个 nines 的耐用性。
以这种方式复制数据节点可以提供我们想要的耐用性,但我们也可以利用擦除编码来降低存储成本。
擦除编码使我们能够使用校验位,这允许我们在发生故障时重建丢失的位:

假设这些位是数据节点。如果其中两个节点宕机,我们可以使用剩下的四个节点来恢复数据。
有不同的擦除编码方案。在我们的情况下,我们可以使用 8+4 的擦除编码,跨不同的故障域分布,以最大化可靠性:

擦除编码使我们能够实现更低的存储成本(提高了 50%),但由于数据路由服务必须从多个位置收集数据,访问速度会受到影响:

其他注意事项:
- 复制要求 200% 的存储开销(在 3 个副本的情况下),而擦除编码只需要 50%
- 擦除编码为我们提供 11 个 nines 的耐用性,而复制只能提供 6 个 nines
- 擦除编码需要更多的计算来计算和存储校验位
总的来说,复制对于低延迟敏感的应用更有用,而擦除编码则在存储成本效率和耐用性上更具吸引力。
擦除编码的实现也要比复制复杂得多。
正确性验证
如果硬盘完全故障,故障是容易检测到的。但如果硬盘部分内存损坏,这就不那么直接了。
为了检测这种情况,我们可以使用校验和——文件内容的哈希值,能够验证文件的完整性。
在我们的系统中,我们将为每个文件和每个对象存储校验和:

在擦除编码(8+4)的情况下,我们需要分别获取 8 个数据片段,并验证它们的校验和。
元数据数据模型
表格模式:

我们需要支持的查询:
- 通过名称查找对象 ID
- 基于名称插入/删除对象
- 列出具有相同前缀的桶中的对象
通常用户可以创建的桶数量有限,因此,桶表的大小较小,可以适配一个单独的数据库服务器。
但我们仍然需要为读取吞吐量扩展服务器。
不过,对象表可能无法适应单个数据库服务器。因此,我们可以通过分片来扩展该表:
- 按
bucket_id分片会导致热点问题,因为一个桶可能包含数十亿个对象 - 按
bucket_id分片虽然可以更均匀地分配负载,但查询会变慢 - 我们选择按
hash(bucket_name, object_name)分片,因为大部分查询都基于对象或桶名称。
即使使用这个分片方案,列出桶中的对象仍然会很慢。
在桶中列出对象
在单个数据库中,通过前缀列出对象(看起来像一个目录)可以像这样工作:
SELECT * FROM object WHERE bucket_id = "123" AND object_name LIKE `abc/%`
当数据库被分片时,完成这个查询会变得具有挑战性。为此,我们可以在每个分片上执行查询并在内存中聚合结果。
但这样做使得分页变得困难,因为不同分片包含不同数量的结果,我们需要为每个分片维护单独的 limit/offset。
我们可以利用通常对象存储未优化列出对象的特点,因此我们可以牺牲列出性能。
我们还可以为列出对象创建一个去规范化的表,按桶 ID 分片。
这样一来,列出查询就会变得足够快速,因为它仅限于单个数据库实例。
对象版本控制
版本控制通过添加另一个 object_version 列来工作,该列类型为 TIMEUUID,允许我们按版本对记录进行排序。
每个新版本都会产生一个新的 object_id:

删除对象时,会创建一个新的版本,并使用特殊的 object_id 表示该对象已被删除。查询该对象时返回 404:

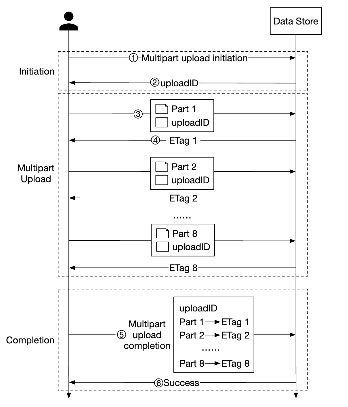
优化大文件的上传
上传大文件可以通过使用分片上传进行优化——将一个大文件拆分为多个块,独立上传:

- 客户端调用服务以启动分片上传
- 数据存储返回一个上传 ID,用来唯一标识这次上传
- 客户端将大文件拆分为多个块,独立上传,每个块使用上传 ID
- 上传一个块时,数据存储返回一个 etag(MD5 校验和),标识该上传块
- 所有部分上传完成后,客户端发送完整的分片上传请求,包含上传 ID、部分号和所有 etag
- 数据存储从各个部分重新组装对象。此过程可能需要几分钟。完成后,成功响应将返回给客户端。
不再需要的旧部分可以在此时删除。我们可以引入一个垃圾回收器来处理它。
垃圾回收
垃圾回收是回收不再使用的存储空间的过程。数据变成垃圾的方式有几种:
- 延迟对象删除——对象标记为已删除,但实际上并没有被删除
- 孤立数据——例如上传中途失败,需要删除旧部分
- 损坏的数据——数据未通过校验和验证
垃圾回收器还负责回收副本中未使用的空间。
在复制的情况下,数据会从主副本和副本中删除。在擦除编码(8+4)中,数据会从所有 12 个节点中删除。
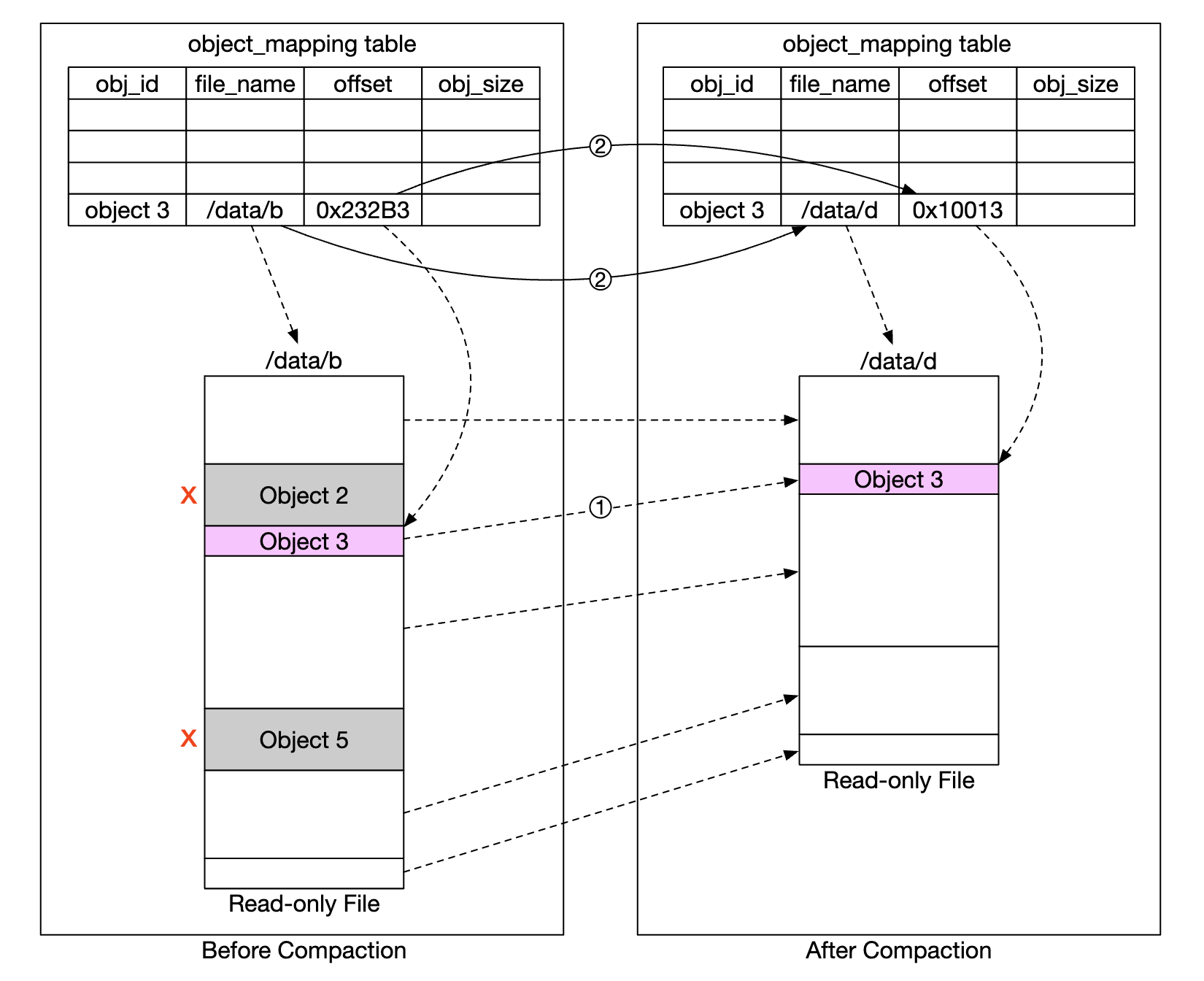
为了便于删除,我们将使用称为“压缩”的过程:
- 垃圾回收器将未删除的对象从“data/b”复制到“data/d”
- 在复制完成后,使用数据库事务更新
object_mapping表 - 为了避免创建过多小文件,压缩操作只在文件增长到某个阈值时执行

第 4 步:总结
我们涵盖的内容:
- 设计一个类似 S3 的对象存储
- 比较对象存储、块存储和文件存储的差异
- 讲解了在桶中上传、下载、列出、版本控制对象的过程
- 深入探讨了设计:数据存储和元数据存储、复制和擦除编码、分片上传、分片设计
